Now that you have an understanding of what shear walls are and how they work we will move onto to their implementation. This diagram will be useful to remember when you look at future projects:
| In The House |  | 
|  | |
| Typical construction of a single family house. | 
Structural versus Non-Structural Walls
From the handouts and from our review of Modulus of Elasticity you'll remember that a number of different materials can be used to resist shear forces. The diagram above provides two common examples. In it we see that the exterior walls are sheathed with ½" plywood and finished with 7/8" cement plaster. All interior surfaces are sheathed with gypboard.
For structural purposes we consider the exterior walls as the shear-resisting walls. Forces from the ceiling and roof diaphragms make their way to the outside along assumed paths, enter the walls, and exit at the foundation.
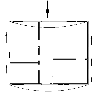
| Simplified Force Paths |  | 
|  | |
| The simple deflected shape of the diaphragm is is
      shown by the thin arcs top and bottom. | 
But what happens in reality is something different. The roof forces, if uninterrupted, will continue to go to the exterior walls. But the ceiling forces will encounter rigid elements long before they reach the exterior walls. The interior gypboard walls - what we as designers think of as non-structural walls - will attempt to resist ceiling forces until they are (1) overstressed; or (2) yield as a result of repetitive load cycles. In one way the resistance contributed by these elements only serves to increase the overall strength of the building against lateral loads.
In short, (Structural Components + Non-Structural Components) > Design Strength.
| More Realistic Force Paths |  | 
|  | |
| If the ceiling and walls are attached to the bottom
      of second floor framing then the forces from that level can be held up by the interior walls acting as shear walls. | 
A corollary to the above scenario is that those interior
walls, as they attempt to resist lateral loads, exert forces on their supporting
structure(s) that were never anticipated. For new construction, an allowance
can be made for stronger or doubled members at the ends of these walls. Existing
construction should be viewed with an eye towards this process should you
be asked to remodel interior walls.



